Хроматограф представляет собой прибор, используемый для расщепления смесей на монокомпоненты. На сегодняшний день хроматографический метод анализа считается наиболее точным и активно применяется для комплексного исследования сложных материалов, а также для качественной и количественной оценки каждого из компонентов. Стоимость хроматографа оправдана ввиду высокой достоверности получаемых данных при минимальных трудовых и финансовых затратах в ходе проведения конкретного исследования. В данной статье будут всесторонне рассмотрены вопросы, касающиеся устройства и возможностей установок, принципа действия агрегатов, классификации оборудования:
- Хроматография, как метод комплексного исследования
- Классификация по типу используемого элюента.
- Устройство и принцип работы газового хроматографа
- Характеристики колонок хроматографа
- Виды колонок
- Термостат
- Детекторы
- Регистраторы
- Как и где купить хроматограф по доступной цене?
Хроматография, как метод комплексного исследования
Физико-химический метод дифференцирования и исследования материалов, который основан на распределении их составляющих между двумя фазами, называется хроматография. При этом компоненты исследуемого объекта распределяются между подвижной (элюентом) и неподвижной фазами. В основе дифференцирования лежит растворимость (адсорбируемость) и летучесть компонентов исследуемой пробы. Купить хроматограф целесообразно в том случае, если вы планируете анализировать жидкие, газообразные и твердые образцы, значение молекулярной массы которых не превышает 400. Причем сами вещества должны быть летучими, термостабильными и инертными. Как правило, указанным требованиям соответствуют органические субстанции, но в ряде случаев анализу подлежат и образцы неорганической природы.
Классификация хроматографов по типу используемого элюента
Хроматографы принято разделять на следующие категории по виду используемого элюента:
- Газовые. В таких приборах в качестве подвижной фазы выступает газообразная субстанция. Чаще всего это инертные газы – например, аргон, азот, гелий, водород. Исследованию подвергаются сложные материалы, переходящие в парообразное состояние без разложения. Эти хроматографы получили наибольшее распространение и широко используются в различных областях, начиная от исследований медицинских препаратов, и заканчивая промышленными производствами.
- Жидкостные. В этом случае носителем является жидкость. Обычно в качестве элюента используются растворители, водные растворы и вода.
Устройство и принцип работы газового хроматографа
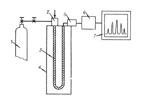
Стандартный хроматограф работает по следующей схеме:
- Подача газа-носителя в колонку-трубку. Газ-носитель непрерывно подается через регуляторы расхода с переменной или постоянной скоростью. При этом заполненная сорбентом колонка помещена в термостат, который позволяет поддерживать заданные значения температуры.
- Ввод пробы. Сегодня хроматографы позволяют работать как с жидкими, так и с газообразными образцами. Ввод пробы осуществляется вручную с использованием микрошприца или микродозаторов.
- Расщепление исходного материала в колонке хроматографа. Образец распадается на ряд бинарных смесей, которые состоят из газа-носителя и одного из исследуемых компонентов.
- Поступление бинарных смесей в детектор. Очередность поступления определяет сорбируемость компонентов.
- Изменение концентрации компонентов на выходе. В детекторе хроматографа протекают процессы, в результате которых изменяется ионизационный ток, теплопроводность и другие характеристики.
- Преобразование протекающих в детекторе процессов в электрические сигнал с последующей фиксацией данных на хроматограмме. Хроматограф работает таким образом, что в конечном счете все изменения записываются в виде хроматограммы – выходной кривой.
1 – баллон для газа, 2 – пробоприемник (устройство для ввода проб), 3 – колонка хроматографа, 4 – термостат, 5 – детектор, 6 – преобразователь сигналов, 7 – регистратор.
Характеристики колонок хроматографа
Хроматограф устроен таким образом, что основным конструктивным элементом установки являются колонки, которые представляют собой заполненные неподвижной фазой трубки. Именно по этим трубкам неподвижная фаза и анализируемый образец движутся в ходе проведения исследования, и здесь же происходит разделение на монокомпоненты. Стоимость хроматографа во многом зависит от качества колонок, которые характеризуются по следующим параметрам:
- Эффективность. Мера расширения пика материала при его движении по колонке. Эффективность напрямую связана с количеством теоретических тарелок (воображаемых участков по длине трубки, в каждом из которых достигается термодинамическое равновесие фаз). На эффективность также влияет сопротивление массопереносу, вихревая диффузия и продольная молекулярная диффузия. В современных капиллярных колонках количество теоретических тарелок достигает несколько десятков тысяч, что позволяет разделять на монокомпоненты даже самую сложную субстанцию, при условии правильного подбора селективности неподвижной фазы.
- Селективность. Данный параметр определяется, как разница в степени удерживания субстанций различной природы на неподвижной фазе. Как правило, селективность выражается через относительное удерживание пары критически важных элементов исследуемого образца. Если отношение превышает 1, то возможно разделение пиков. На селективность влияет характер взаимодействия неподвижной фазы и определяемого образца. Указанные взаимодействия могут быть полярными специфическими или неполярными дисперсионными.
- Емкость. Связана с физическими размерами колонки. Чем больше колонка, тем с большими по объему пробами может работать хроматограф.
Виды колонок
Современные хроматографы могут быть оснащены различными по устройству и функциональности колонками. Сегодня принято различать следующие виды колонок:
- Насадочные. Так принято называть трубки большого диаметра (как правило, 2 мм). Такие колонки можно сделать самостоятельно, заполнив их предварительно приготовленным адсорбентом, снизив тем самым цену укомплектованного хроматографа. В качестве адсорбента может выступать трепел зикеевского карьера или толченый кирпич, на поверхность которого нанесено вазелиновое масло.
- Капиллярные. Изготавливаются из трубочек малого диаметра (капилляров). С уменьшением диаметра колонок, уменьшается размытие пиков в результате диффузии, а значит – увеличивается эффективность.
Термостат
Любой хроматограф оснащен термостатом, который выполняет функцию поддержания температуры в заданном интервале значений. Именно от температуры зависит подвижность разделяемых компонентом, и чтобы элюирование длилось в течение нужного времени, в колонке необходимо поддерживать определенный температурный режим. Область рабочих значений может варьировать от температуры жидкого азота до 400 градусов (и даже выше), в зависимости от природы исследуемого объекта и конструкционных особенностей, которыми отличается хроматограф. При этом отклонения от выбранного значения должны быть минимальны – допускается погрешность в 0,1 градус. Сегодняшние хроматографы снабжены высокотехнологичными термостатами, которые способны поддерживать температуру в столь узком интервале. При этом конструкция самих термостатов предполагает наличие вентилятора и нагревателя, что обеспечивает чувствительность даже при высоких температурах.
Детекторы
Детектор представляет собой устройство, реагирующее на изменение концентрации исследуемого вещества. Перед тем как купить хроматограф, важно определиться, какие типы детекторов будут использоваться (к слову, это и является одним из определяющих факторов при формировании стоимости). В настоящий момент принято различать следующие виды детекторов:
- Детектор по теплопроводности. Принцип действия основан на изменении температуры нагретой металлический нити при обдувании ее газом (исследуемой пробой) с разной теплопроводностью. Чтобы обеспечить максимальную чувствительность, одновременно задействуют сразу две нити. Одну проволоку обдувают чистым газом-носителем, который подается на вход разделительной колонки, а вторую нить обдувают газом с выхода колонки с разделительными элементами.
- Пламенно-ионизационный. Как правило, применяется для определения углеводородов. Работает по принципу изменения электрической проводимости газа в факеле кислородно-водородного пламени при попадании в него соединений органического происхождения.
- Пламенно-фотометрический. Определяет излучение атомов и молекул при их попадании в плазму кислородно-водородного пламени. В теории, хроматограф с ПФД способен определять обширный спектр элементов, но на практике он обычно используется при исследовании соединений фосфора, азота, серы и иногда ртути.
- Термоионный. В данном устройстве используется керамический шарик небольших размеров с таблеткой из соли щелочных металлов. ТИД актуален для селективного определения фосфора или азота.
- Электрозахватный. В ЭЗД используют источник бета-частиц (электронов). Если в газе, проходящем мимо такого радиоактивного источника, оказываются склонные к ионизации молекулы, то возникает ток, пропорциональный их концентрации. При этом возникший ток можно измерить.
- Электрохимический. Из колонки выходят серосодержащие вещества, которые вступают в реакцию на поверхности электролита. В результате между измерительными электродами создается поток электронов.
Регистраторы
Компоненты, поступающие из колонки, посредством детектора трансформируются в изменение определенного электрического параметра – к примеру, это может быть напряжение. Хроматограф оснащен специальными устройствами, которые регистрируют все изменения во времени, а результаты выводятся на хроматограмме. При этом полученные хроматограммы можно обрабатывать и количественно, и качественно. Хроматограммы регистрируются самопишущими потенциометрами, которые производят длительную запись отклика детектора. Самописцы, которые установлены на хроматограф, должны отвечать следующим требованиям:
- Высокая скорость регистрации.
- Воспроизводимые отклонения пера при подаче одинакового напряжения.
- Линейная зависимость на всей шкале.
- Максимальная чувствительность.
Как и где купить хроматограф по доступной цене?
Хроматографы обладают достаточно обширными возможностями, которые уже взяли себе на заметку не только биологи, экологи, криминалисты, медики, химики, но и сотрудники газовой и нефтяной промышленности. Агрегаты позволяют производить комплексные исследования субстанций различного происхождения. Купить хроматограф – значит получить возможность быстро и точно произвести диагностику многих заболеваний, обнаружить в крови психотропные препараты, изучить метаболизм пищи и лекарств, сделать анализ уровня загрязненности окружающего воздуха. И это далеко не все задачи, решение которых станет доступно, если вы решите купить хроматограф! Перед тем как приобрести оборудование, следует обратить внимание на ряд важных факторов. Хроматографы могут иметь различную комплектацию, с которой необходимо определиться до совершения покупки. Приборы бывают компактными и стационарными, специализированными и многофункциональными. Цена хроматографа напрямую зависит от комплектации и возможностей установки – на окончательную стоимость непосредственно влияет количество детекторов, качество колонок и прочие характеристики. Важно обращать внимание и на программное обеспечение. При наличии соответствующей программы, можно оперативно определить состав любого бытового продукта (например, подсолнечного масла). Если вы хотите купить хроматограф по разумной цене, то лучше делать заказ напрямую у производителя. Так вы избежите необоснованных накруток и сможете приобрести оборудование надлежащего качества.


